آخرین ارسال ها در وبلاگ های سهندبلاگ | صفحه 103

جدول خاموشی های برق 16 شهریور در چهارمحال و بختیاری

روابط عمومی شرکت توزیع نیروی برق چهارمحال و بختیاری، خاموشی های احتمالی مدیریت بار اضطراری امروز در استان را خاطرنشان کرد.

17 شهریور 1400

مگی جیلنهال با دختر گمشده همه را راضی کرد (جشنواره ونیز 2021)

مگی جیلنهال، بازیگر و نویسنده، پس از سال ها بازی در فیلم های پرفروش، اولین کارگردانی خود را با فیلم آینده نتفلیکس به نام دختر گمشده، تجربه نموده است.

17 شهریور 1400

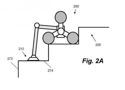
رباتی که می تواند پله ها را تمیز کند

به گز ارش خبرنگاران به نقل از ورج، شرکت دایسون حق انتشار طرح های جدیدی برای ربات ها ثبت نموده است. به نظر می رسد این ربات ها می توانند از پله ها بالا بروند، آنها را تمیز نمایند و در کشوها را باز نمایند.

16 شهریور 1400

نَه گفتن هایی که به نفع بازیگران تمام شد

گاهی اتفاقاتی می افتد که بازیگران از رد کردن پیشنهاد بازی در یک فیلم ابراز خرسندی می کنند.

16 شهریور 1400

عمل لیزیک چشم و جراحی بینی کلینیک چهره نگار

خبرگزاری خبرنگاران- در واقع برای بسیاری از افرادی که از عینک و یا لنز طبی استفاده می نمایند و قصد عمل لیزیک چشم را دارند این سوال مطرح می گردد که آیا بعد از انجام عمل لیزیک می توان جراحی بینی را انجام داد و آیا دوباره مسئله ای برای چشم ایجاد نمی گردد. بعلاوه...

14 شهریور 1400

گرانترین و کمیاب ترین چوب های جهان

در این گزارش می توانید با خاص ترین و گران ترین چوب های جهان آشنا شوید و اطلاعات جالبی از آن ها کسب کنید.

14 شهریور 1400

پیک پنجم به قله رسیده است، شرط ایمنی جمعی در کشور

معاون بهداشت دانشگاه علوم پزشکی ایران، در ارتباط با شرایط پیک پنجم و احتمال بروز پیک ششم کرونا، توضیحاتی ارائه داد.

13 شهریور 1400

با 8 اصل رنگ آمیزی ساختمان آشنا شوید

نقاشی ساختمان، کاری هنرمندانه و حساس است که باید با دانش کافی و دقت بالا انجام گردد تا حداکثر جلوه و زیبایی را به ساختمان ببخشد. رعایت نکات رنگ آمیزی ساختمان جهت نتیجه ای مطلوب ضروری و پر اهمیت است. با ما در این مطلب همراه باشید تا با نکات رنگ امیزی ساختمان...

13 شهریور 1400

دستگاهی که هوا را مخصوص شما تصفیه می نماید

گجت پوشیدنی Air-Ring با تصفیه جریان هوا، شما را بدون محدودیت، سلامت نگه می دارد. با دستگاه تصفیه هوای پوشیدنی Air-Ring، یک فضای تمیز از هوای تصفیه شده در اطراف صورت کاربر ایجاد کنید.

13 شهریور 1400

مدل های کمجا مبلمان مناسب گوشه دیوار در دکوراسیون منزل

مبلمان مناسب گوشه دیوار از جمله مواردی بود که تابحال در سایت اتاق مطلبی در این باره ننوشته بودم، از این رو مناسب دیدم سری هم به گوشه های منزلمان بزنیم و ببینیم آنجا چخبر است! استفاده بهینه از گوشه های موجود در داخل منزل بخصوص خانه های کوچک امری بسیار مهم...

12 شهریور 1400

مصرف کافئین گرمازدگی را تشدید می نماید

مصرف کافئین به خصوص قهوه های تلخ باعث از دست رفتن آب زیادی از بدن می گردد و بسیاری از افراد در طول روز بیش از سه لیوان قهوه مصرف می نمایند که باعث تشدید گرمازدگی در آن ها خواهد شد و توصیه می کنم که چنین افرادی مصرف کافئین را به حداقل کاهش دهند یا در کنار...

12 شهریور 1400

8 ایده و ترند نو طراحی داخلی دفتر اداری [ مدرن و شیک ]

یکی از مهم ترین نکاتی که می تواند در معرفی برند و خدمات هر شرکت و اداره ای موثر و تاثیر گذار باشد، طراحی داخلی دفتر اداری مناسب و اصولی است. این طراحی باید به گونه ای باشد که با نوع کار شرکت همخوانی کامل داشته، برای کاربری حداکثری کارمندان طراحی شده باشد...

10 شهریور 1400

8 روش چیدمان در دکوراسیون لاکچری منزل

نحوه چیدمان در دکوراسیون لاکچریبا وجود آنکه زرق و برق هتل ها چشم هر بیننده ای را معطوف خود می سازد، انتها راحتی و آسایش خانه خودمان پیروز میدان می گردد و درمی یابیم: هیچ کجای جهان خانه خود آدم نمی گردد! با این حال، گرایش بسیاری از افراد رو به دکوراسیون...

10 شهریور 1400

ثبت حق انتشار ماژول دوربینی که از موبایل جدا می گردد

به گزارش خبرنگاران به نقل از گیزموچاینا، ویوو اخیراً کپی رایت اختراع جدیدی در سازمان WIPO را ثبت نموده است. این کپی رایت مربوط به طرح نوآورانه یک موبایل با ماژول دوربین سلفی زیر نمایشگر با قابلیت جدا شدن است.

10 شهریور 1400

بهار و قیصی و کلوچه اش!

زندگی امروز / این کلوچه خوشمزه را برای دورهمی های بهاری تهیه کنید و از آن لذت ببرید.

10 شهریور 1400

37 مدل کف چوبی اتاق پذیرایی بسیار زیبا و منحصر به فرد

در دکوراسیون خانه میتوانید از کف های مختلفی بهره ببرید.امروزه کاشی های مختلفی طراحی و ساخته میشوند که میتوانید با توجه به سلیقه خود در دکوراسیون خانه بهره ببرید. بیشتر افراد از کاشی های طرح دار و یا کف های چوبی استفاده میکنند. این کف ها با بیشتر سبک های...

10 شهریور 1400

6 عاقبت خطرناک صبحانه نخوردن!

پاسخ این سوال در حال حاضر کاملا روشن است: انجمن قلب آمریکا اعلام نموده کسانی که از وعده صبحانه صرف نظر می نمایند، در طور روز بیشتر از سایرین دچار پرخوری شده و اضافه وزن را تجربه می نمایند. ضمن این که دریافت نمایندگان وعده صبحانه، دچار نرخ پایین تر بیماری...

10 شهریور 1400

چگونه می توانیم بوی بد ماهی را در آشپزخانه از بین ببریم؟

بوی ماهی به نوعی تند و غلیظ است که شاید برای همه دوست داشتنی نباشد. ممکن است بوی ماهی تا روزهای متوالی در خانه بماند. ماهی منبع غنیی از ویتامین های مورد احتیاج بدن از جمله ویتامین ای است. حالا دیگر می توانید با خیال آسوده ماهی را در خانه بپزید و میل کنید؛...

8 شهریور 1400

ام جی 360 توربو ارزش خرید دارد یا جک J4؟

مشخصات فنی ام جی 360 توربو و جک J4 در این گزارش آمده است تا به کمک آن ها بتوانید خودرو مناسب مورد نظر خود را انتخاب کنید.

8 شهریور 1400

مدل های هوشمند میز ال ای دی 2021 با قابلیت حرکت اتوماتیک

امروزه دیگر تمام تلویزیون ها هوشمند شده اند، درست مانند گوشی های همراه، بنابراین جای تعجب ندارد که طراحی مدل های میز ال ای دی 2017 هم به همین سمت قدم بردارد. میزهایی که شاید دکوراسیون داخلی را خیلی آینده نگرانه، یا به قول معروف فضایی نشان دهد. احتمالا با...

8 شهریور 1400
تعداد: (3981)